Впервые на Enex? Получите 500 приветственных бонусов при регистрации!
0
Сравнение
0
Избранное
0
Корзина
PREMIUM заточка: Алмазные заточные круги от БАИ
Обновлено: 25.04.2025
Автор новости : ООО "БАИ"
Революция в заточке: Алмазные тарельчатые круги от БАИ!

PREMIUM заточка: Алмазные заточные круги от БАИ

Поделиться:

Белгородский Алмазный Инструмент представляет революционные алмазные круги PREMIUM! Забудьте о низкой производительности и дорогостоящем импортном инструменте. Тарельчатые круги 12V9-20 и 4A2 обеспечат высочайшее качество заточки и доводки режущего инструмента.

Компания, сертифицированная по ISO 9001:2008 (сертификация BUREAU VERITAS Certification), успешно поставляет высококачественный инструмент в трех линейках: БАЗИС, СТАНДАРТ и PREMIUM.

Линейка PREMIUM, особенно выделяется, предлагая инструмент для замены импортных аналогов, позволяя повысить производительность деревообрабатывающей, металлургической, и машиностроительной промышленности. В этой линейке представлены, в частности, тарельчатые алмазные круги:

Круги алмазные тарельчатые 12V9-20

Используются для заточки и доводки передней поверхности зубьев разверток, цельных и сборных фрез, червячных фрез, дисковых пил, протяжек и другого инструмента из твердого сплава.

1p.jpg 2p.jpg 3.jpg
Frame 4298.jpg Frame 4299.jpg

Заточка инструмента о передней поверхности

12V9-20 D*T*X*U*H


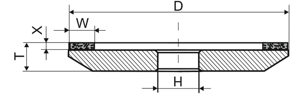
Круги алмазные тарельчатые 4A2

  • Используются для заточки и доводки передней поверхности многолезвийного режущего инструмента.
  • Алмазоносный слой изготовляетсяиз алмазных шлифпорошков и микропорошков на металлических и органических связках.
1f.jpg 3f.jpg 2f.jpg
4300.jpg 4301.jpg

Заточка фрез по передней грани

4A2 D*T*X*W*H


Алмазоносный слой кругов PREMIUM изготавливается из алмазных шлифпорошков и микропорошков на металлических и органических связках, обеспечивая высокую эффективность и долговечность.

Компания "БАИ" предлагает не только высококачественный инструмент, но и консультации опытных специалистов. Они помогут выбрать оптимальное решение для любых задач, связанных с заточкой и обработкой инструмента из твердых сплавов, быстрорежущих сталей, а также стекла, керамики, и других материалов.


Круги алмазные заточные БАИ на Enex

Каталог товаров БАИ на Enex

Сортировать:
ОСТАВИТЬ КОММЕНТАРИЙ
Поделиться: